LST-128是一款手持式的声学成像仪,支持超声波频段。仪器利用麦克风阵列波束形成技术获取声源分布数据,并配合高清摄像头实时采集视频画面,通过将声源分布数据同视频图像进行声像融合,把变化的声源动态的...详情+
电力商城 运维服务 系统工程
配网故障检测仪器 接地测试设备 绝缘测试设备 电力常用仪表 变压器测试设备 直流电源系统测试设备 其他测试仪器
ZC11D-10绝缘揺表
本仪表用于测量各种电机、电缆、变压器、电讯元器件、家用电器和其他电器的绝缘电阻。
  • 产品概述
  • 功能特点
  • 技术参数
  • 使用说明
本仪表用于测量各种电机、电缆、变压器、电讯元器件、家用电器和其他电器的绝缘电阻。ZC11D型仪表主要适用与电阻丝应变片之绝缘测定。
本仪表贯彻GB/T7676-1998《直接作用模拟指示电测量仪表及其附件》国家标准。本仪表的计量器具型式批准证书标志和编号如下。


 

1、使用条件:温度自-20~+40℃,相对湿度不大于85%(+25℃);

2摇柄转数:每分钟150转;

3刻度弧长:约80毫米;

4外形尺寸:215×135×130(毫米);

5重量:约2.5公斤;

6倾斜影响:当仪表自水平位置向任何一方向倾斜5°时,仪表允许改变量为等级指数的50%;

7外磁场影响:当外界磁场强度为0.4千安/米时,仪表允许改变量为等级指数的100%;

8规格、测量范围、额定输出电压、精度,绝缘电阻、耐压等见表1

1

型号

额定电压

测量范围

MΩ)

准确度

(级)

绝缘电阻

MΩ)

耐压

kV

V

允许误差

ZC11D-5

2500

±10%

0-10000

20

30

3.5

ZC11D-4

1000

±10%

0-5000

20

30

3.5

ZC11D-10

2500

±10%

0-2500

20

30

3.5

 


1、本仪表在使用时,远离磁场,水平放置;
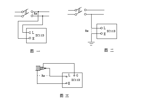
2、在做绝缘测定时,可将被测物的两端分别接在“接地”及“线路”两接线柱上,转动摇柄,即可测得电阻数值;见图一

3、在做通地测定时,将被测端接“线路”而以良好的地线接于“接地”柱上;见图二

4、在进行电缆缆芯对缆壳的绝缘测定时,除将被测两端分别接于“接地”与“线路”两接线柱外,再将电缆壳芯之间的内层绝缘物接“屏蔽”以消除因表面漏电而引起的测量误差;见图三

 

5、接线柱与被测物之间连接导线不能用绞线,应分开单独连接不致因绞线绝缘不良而影响读数;

6、在雷电或邻近有带高压导体的设备时,禁止用仪表进行测量。只有在设备不带电。又不可能受其他电源感应而带电时,才能进行;

7、在进行测量前后对被测物一定要进行充分放电,以保障设备及人身安全;

8、转动摇手柄时应由慢渐快,如发现指针零时不许继续用力摇动,以防线圈损坏;

9、应尽量避免剧烈、长期的震动,使表头轴尖、宝石受损而影响刻度指示;

10、仪表在不使用时应放在固定的橱内,环境气温不宜太冷或太热,切记放于污秽、潮湿的地面上,并避免置于含腐蚀作用的空气(如酸、碱等蒸汽)附近。


  • 合肥市高新区天达路71号华亿科学园A1栋12楼
  • 电话:0551-68136615
    传真:0551-68136618
    网址:www.km2004.com / www.ahkm2004.com
  • Copyright 2012-2017 Anhui Sci&Tech Union Electronic Co.,l td All Right Reserved 版权所有:安徽科盟电子科技有限公司 皖ICP备2021004721号-1